Fassadenelement 3425
Bauteilmine: Personalhäuser Triemlizum Warenkorb hinzufügen 
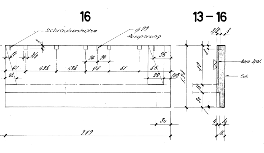
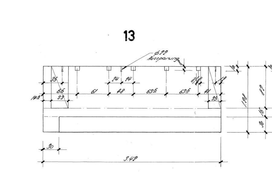
| Beschreibung | Brüstungselement. Stahlbeton-Fertigteil, selbsttragende Fassade, aussen: Sichtbeton bewittert, innen: Putz/Tapete. Mit innenliegenden Aussparumgen (3 cm) für vormalige Korkdämmung (die Dämmung wird vor dem Wiedereinbau entfernt). | |
| Dimensionen | 3425x1280x160 mm | |
| Menge | 76 Stk | |
| Eingespartes CO2eq (kg) gegenüber neu gefertigten Bauteil Durch Demontage und Transport verursachtes CO2eq (kg) | -202 kg/Stk 3 kg/Stk | CO2 Info |
| Downloads | PDF-4.2.7 DWG-4.2.7 Fassadenelement_3425_R20_R01.ifc Fassadenelement_3425_R20_R01 Fassadenelement_3425_R20_R01 Katalog_EPFL_Triemli_4.2.7 | |
| Subtype | n° 13, 16, 33, 37 | |
| Karbonatisierung | fortgeschritten | |
| Beton Druckfestigkeit | 69 N/mm2 | |
| Armierung | Ø 4 S=100-150 mm | |