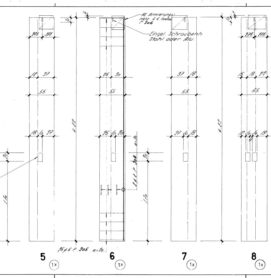
Fassadenelement Stütze
Bauteilmine: Personalhäuser Triemlizum Warenkorb hinzufügen 
| Beschreibung | Stützenverkleidungselement Stahlbeton-Fertigteil, selbsttragende Fassade, aussen: Sichtbeton bewittert, innen: roh. | |
| Dimensionen | 4830 x 550 x 160 mm | |
| Menge | 59 Stk | |
| Eingespartes CO2eq (kg) gegenüber neu gefertigten Bauteil Durch Demontage und Transport verursachtes CO2eq (kg) | -122 kg/Stk 2 kg/Stk | CO2 Info |
| Downloads | Katalog_EPFL_Triemli_2.1.1 DWG-2.1.1 Aussenstütze_R20_R01.ifc Aussenstütze_R20_R01 Aussenstütze_R20_R01 | |
| Subtype | n° 1 bis 8 | |
| Karbonatisierung | fortgeschritten | |
| Beton Druckfestigkeit | 41 N/mm2 | |
| Armierung | 2 x 4 x Ø 8 | |